Michael J. Colitz, Jr.
Registered Patent Attorney
Home Patent Process Legal Fees Biography Wacky Patent of Month Old Wacky Patents Meet the Staff Links
Wacky Patent of the Month

 

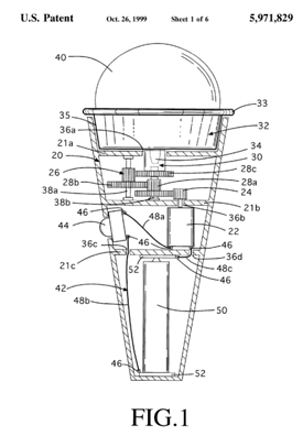
Motorized Ice Cream Cone
July 2018 Wacky Patent

 

U.S. Patent Number: US 5,971,829 A

Patented Oct 26, 1999

to

Richard B. Hartman

 

Colitz Catchphrase:

"When you want some ice cream but your too tired from the heat to lick it.

wacky patent illustration

view - original patent

ABSTRACT
A novelty amusement eating receptacle for supporting, rotating and sculpting a portion of ice cream or similarly malleable food while it is being consumed comprising: a hand-held housing, a cup rotatably supported by the hand-held housing and adapted to receive and contain a portion of ice cream or food product of similar consistency, and a drive mechanism in the hand-held housing for imparting rotation upon the cup and rotationally feeding its contents against a person's outstretched tongue.

Contact Us