Michael J. Colitz, Jr.
Registered Patent Attorney
Home Patent Process Legal Fees Biography Wacky Patent of Month Old Wacky Patents Meet the Staff Links
Wacky Patent of the Month

 

Elongated Football
August 2017 Wacky Patent

 

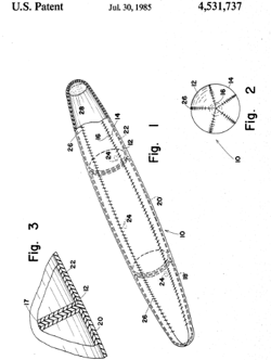
U.S. Patent Number: US 4,531,737

Patented Jul 30, 1985

to

James Jacobson and Thomas E. McCormick

 

Colitz Catchphrase:

"Brings new meaning to the saying, "Go out for a long pass."

wacky patent illustration

view - original patent

ABSTRACT
An elongated football comprising a casing up to forty inches in length and no more than about six inches in diameter. There are three inflatable bladders contained in three compartments in tandem in the casing, each with its own inflating valve accessible from the outside of the casing so that it can be inflated to different pressures to vary the nature of the bounce. Soft putty may be added at each end of the football for adding weight thereto.

Contact Us