Michael J. Colitz, Jr.
Registered Patent Attorney
Home Patent Process Legal Fees Biography Wacky Patent of Month Old Wacky Patents Meet the Staff Links
Wacky Patent of the Month

 

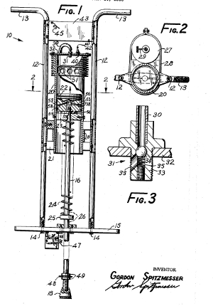
Combustible Gas Powered Pogo Stick
July 2014 Wacky Patent

 

U.S. Patent Number: 2,929,459

Patented Jan. 10, 1958

to

SPITZMESSER G.

 

Colitz Catchphrase:

“What high tech kids did before video games.“

wacky patent illustration

original patent

ABSTRACT

It is an object of the present invention to provide a pogo stick for use by children and adults alike that has a self-contained internal combustion engine for assisting the propulsion of the unit.

Contact Us