Michael J. Colitz, Jr.
Registered Patent Attorney
Home Patent Process Legal Fees Biography Wacky Patent of Month Old Wacky Patents Meet the Staff Links
Wacky Patent of the Month

 

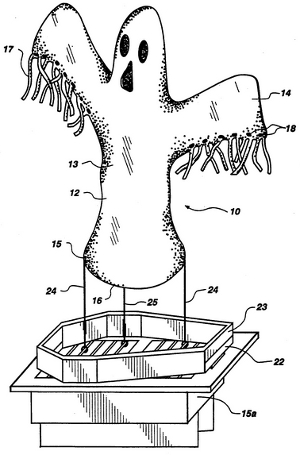
AIR VENT TOY
October 2013 Wacky Patent

 

U.S. Patent Number: 5,186,675

Patented Nov. 19, 1991

to

ROBERT D. D. STODDARD

 

Colitz Catchphrase:

“Happy Holloween, all year round, at least for the cold months.“

wacky patent illustration

original patent

ABSTRACT

An inflatable vent toy for an exhaust vent air outlet comprising: an inflatable balloon made of a flexible material patterned and shaped to suit the preference of a user having a base defining an air inlet with surrounding attachment structure to secure the base over the exhaust vent air outlet such that the air inlet is in communication with the vent air outlet to enable in-coming air from the vent to enter the base air inlet and fill the balloon in a first mode, and to escape and collapse in a second mode when the in-coming air from the vent stops.

Contact Us