Michael J. Colitz, Jr.
Registered Patent Attorney
Home Patent Process Legal Fees Biography Wacky Patent of Month Old Wacky Patents Meet the Staff Links
Wacky Patent of the Month

 

ELECTRIFIED TABLE CLOTH
August 2013 Wacky Patent

 

U.S. Patent Number: 5,107,620

Patented Apr. 28, 1973

to

RICHARD E. MAHAN

 

Colitz Catchphrase:

“Summer time is picnic time for friends and family including uncles and aunts, but not ants. We can be sure of that.“

wacky patent illustration

original patent

ABSTRACT

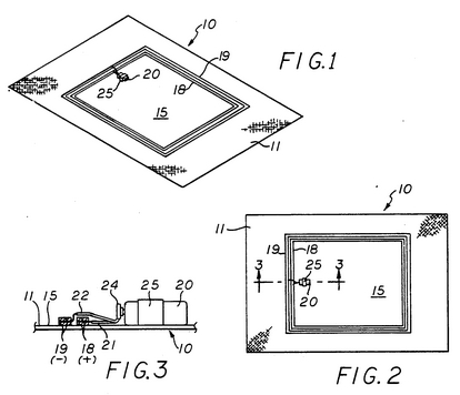
An electrified table cloth for preventing crawling insects from gaining access to the consumer's food or drink comprises a cloth formed of electrically insulated material which has at least one pair of parallel electrically conductive strips secured to the edge or border of the cloth to completely encircle the cloth and which are connected to a low voltage DC battery also secured to the cloth.

Contact Us