Michael J. Colitz, Jr.
Registered Patent Attorney
Home Patent Process Legal Fees Biography Wacky Patent of Month Old Wacky Patents Meet the Staff Links
Wacky Patent of the Month

 

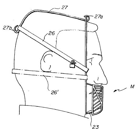
ANTI-EATING FACE MASK
January 2013 Wacky Patent

 

U.S. Patent Number:

4,344,424

Patented: August 17, 1982

to

L. L. Barmby

 

Colitz Catchphrase:

“The most popular New Year's resolution is to lose weight. I have not yet tried this one, but I do not see how it could miss."

wacky patent illustration

view - original patent

ABSTRACT

An anti-eating face mask which includes a cup-shaped member conforming to the shape of the mouth and chin area of the user, together with hoop member and straps detachably engageable with a user's head for mounting the cup-shaped member in overlying relationship with the user's mouth and chin area under the nose thereby preventing the ingestion of food by the user.

Contact Us